Sklypas, Jūražolių g., Vilimiškės (Karvelynas), Palanga

85000 € 8500 €/a.

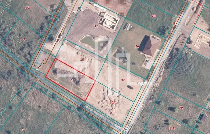
Parduodamas 10 a. sklypas Jūražolių gatvėje, Vilimiškės rajone, Palangoje.

Sklypo paskirtis - namų valda, tinkamas vienbučių ir dvibučių namų statybai.

Atlikti kadastriniai matavimai ir detalusis planas.

Komunikacijos šalia sklypo (dujos, elektra, miesto vandentiekis/nuotekos).

Sklypas strategiškai geroje vietoje, patogus susisiekimas tiek automobiliu, tiek pėsčiomis, o naujai išasfaltuotomis Valteriškės ir Vėžių gatvėmis net pėstute lengvai pasieksite miesto centrą.
Šis sklypas yra sparčiai besivystančiame rajone, šalia daug pastatytų ir dar statomų naujų namų, o pro svetainės langus galėsite stebėti šuoliuojančias stirnas ar bėgiojančias kurapkas.


85000 € 8500 €/a.

Skelbimo ID:

1339451

Savivaldybė:

Palangos m. sav.

Adresas:

Jūražolių g., Vilimiškės (Karvelynas), Palanga

Sklypo plotas:

10 a.

Sklypo paskirtis:

Namo statybai

Komunikacijos:

Nėra

   
Kontaktai

NT pulsas,
+370 609 31318
+37060931318
sklypai@ntpulsas.lt

 
Panašūs skelbimai
Sklypas, Vilimiškės kelias, Vilimiškės (Karvelynas), Palanga 10 a. | Namo statybai 70 000 €Skelbimo ID: 1235400 Sklypas, Ilgoji g., Vilimiškės (Karvelynas), Palanga 10 a. | Namo statybai 89 900 €Skelbimo ID: 1323839 Sklypas, Elijos g., Šventoji, Palanga 10 a. | Namo statybai 70 000 €Skelbimo ID: 1342479
Skambinti:
+370 609 31318
Rašyti
pardavėjui